Benzingeruch beim James Cook Bj 1980
-
BackForrest
- Beiträge: 31
- Registriert: 08.09.2020 08:27
- Wohnort: Schwarzwald
Benzingeruch beim James Cook Bj 1980
Guten Morgen,
wir haben einen James Cook Benziner 208 Bj 1980 und man nimmt ab und zu »Bezindüfte« war. Also wenn der JC steht und man innen sitzt bzw auch außen vorbei läuft. Dummerweise sitzt der Tank direkt unter der Schiebetür und es ist dann recht unangenehm bei Essen oder auch beim Schlafen. Woran könnte das liegen? Sind das die Leitungen oder Eine Dichtung? Und was muss ich dagegen machen?
Vielen Dank schon mal.
BlackForrest
wir haben einen James Cook Benziner 208 Bj 1980 und man nimmt ab und zu »Bezindüfte« war. Also wenn der JC steht und man innen sitzt bzw auch außen vorbei läuft. Dummerweise sitzt der Tank direkt unter der Schiebetür und es ist dann recht unangenehm bei Essen oder auch beim Schlafen. Woran könnte das liegen? Sind das die Leitungen oder Eine Dichtung? Und was muss ich dagegen machen?
Vielen Dank schon mal.
BlackForrest
Zuletzt geändert von BackForrest am 14.06.2021 09:27, insgesamt 1-mal geändert.
Mercedes Benz 208 James Cook | 1980 | Benziner | 86 PS
Re: Benzingeruch beim Jamex´s Cook Bj 1980
Moin,
Da ist sicher eine Benzinleitung undicht. Tank ausbauen und alle Leitungen tauschen. Tank genau anschauen ob der durchgerostet ist.
Ich würde keinen Meter mehr damit fahren. Mit Benzin ist nicht zu spaßen.
Andi
Da ist sicher eine Benzinleitung undicht. Tank ausbauen und alle Leitungen tauschen. Tank genau anschauen ob der durchgerostet ist.
Ich würde keinen Meter mehr damit fahren. Mit Benzin ist nicht zu spaßen.
Andi
1985er JC 309D mit 540.000km
-
BackForrest
- Beiträge: 31
- Registriert: 08.09.2020 08:27
- Wohnort: Schwarzwald
Re: Benzingeruch beim James Cook Bj 1980
Danke Andi. Der Geruch taucht immer mal wieder auf und ich kann gar nicht sagen, an welchen Faktoren (Temperatur oder direkt nach dem Fahren) es liegt. Der Geruch taucht mal auf und dann ist er wieder weg. Jetzt mache ich mir doch ziemlich Sorgen, da wir demnächst eine weite Strecke fahren wollten.
Meine Fragen zum Tank ausbauen:
1.) Er ist noch ¾ gefüllt. Muss das Benzin vorher raus?
2.) Bekommt man dafür noch Dichtungen?
3.) Gibt es wichtige Punkte, auf die ich achten muss bzw eine Anleitung zum Ausbau?
4.) Hebebühne zwingend notwendig zum Aus- und Einbau?
Herzlichen Dank
Meine Fragen zum Tank ausbauen:
1.) Er ist noch ¾ gefüllt. Muss das Benzin vorher raus?
2.) Bekommt man dafür noch Dichtungen?
3.) Gibt es wichtige Punkte, auf die ich achten muss bzw eine Anleitung zum Ausbau?
4.) Hebebühne zwingend notwendig zum Aus- und Einbau?
Herzlichen Dank
Mercedes Benz 208 James Cook | 1980 | Benziner | 86 PS
Re: Benzingeruch beim James Cook Bj 1980
Moin,
zu 1. Ich habe den Tank damals ziemlich leer gefahren. Das macht die (de)montage viel einfacher. Alternativ kannst du auch die Revisionsklappe in der Mitte der Schiebetür aufschrauben. Wahrscheinlich muss du dafür aber den Fußboden zerstören (bei meinem 85er ist das leider so). Daher habe ich die Möglichkeit gar nicht erst erwähnt.
zu 2. Dichtring des Tankgebers sollte noch verfügbar sein. Andere Dichtungen gibts nicht, Schlauch und Rohr ist Meterware.
zu 3. Ich würde ALLE Gummiteile erneuern. Und auch das Belüftungsventil. Siehe =https://nemigaparts.com/de/cat_spares/ ... 7/001/hier. Einfüllrohr habe ich am am Tank drangelassen und den Stutzen an der Fahrzeugwand demontiert.
Und nicht rauchen beim Schrauben am Benzintank
zu 4. Ich habe den Tank damals auf der Einfahrt ohne Hebebühne ausgebaut...
zu 1. Ich habe den Tank damals ziemlich leer gefahren. Das macht die (de)montage viel einfacher. Alternativ kannst du auch die Revisionsklappe in der Mitte der Schiebetür aufschrauben. Wahrscheinlich muss du dafür aber den Fußboden zerstören (bei meinem 85er ist das leider so). Daher habe ich die Möglichkeit gar nicht erst erwähnt.
zu 2. Dichtring des Tankgebers sollte noch verfügbar sein. Andere Dichtungen gibts nicht, Schlauch und Rohr ist Meterware.
zu 3. Ich würde ALLE Gummiteile erneuern. Und auch das Belüftungsventil. Siehe =https://nemigaparts.com/de/cat_spares/ ... 7/001/hier. Einfüllrohr habe ich am am Tank drangelassen und den Stutzen an der Fahrzeugwand demontiert.
Und nicht rauchen beim Schrauben am Benzintank
zu 4. Ich habe den Tank damals auf der Einfahrt ohne Hebebühne ausgebaut...
1985er JC 309D mit 540.000km
- KlassikJames
- Beiträge: 1259
- Registriert: 15.12.2015 20:11
- Wohnort: Kreis Viersen
Re: Benzingeruch beim James Cook Bj 1980
Der Tank ist mit vier Schrauben an der Karosserie befestigt.
Wenn man einen Rangierwagenheber verwendet, kann man den Tank am einfachsten herunter lassen.
Gruss,
Klassikjames
Wenn man einen Rangierwagenheber verwendet, kann man den Tank am einfachsten herunter lassen.
Gruss,
Klassikjames
Cookies sind auf dieser Website ausdrücklich erlaubt.
Leistungsarm und abgasstark
JC Klassik '94 - 310D Automatik
Leistungsarm und abgasstark
JC Klassik '94 - 310D Automatik
-
BackForrest
- Beiträge: 31
- Registriert: 08.09.2020 08:27
- Wohnort: Schwarzwald
Re: Benzingeruch beim James Cook Bj 1980
Vielen Dank erst einmal. Ich war jetzt sicherheitshalber bei Mercedes benz Abteilung Nutzfahrzeuge und habe einmal darunter schauen lassen. Sie könnten nichts feststellen und meinten, dass der Geruch über das Belüfungsventil bzw den Belüftungsschlauchg nach außen gehen würde. Das verursacht den Geruch.
Der Service-Mitarbeiter zeigte mir aber dass das Gestänge für den ALB gebrochen sei.Dazu würde ich aber gleich mal einen neues Thema öffnen.
Dann verschiebe ich die Tankausbauaktion erst einmal auf nach den Urlaub.
Nochmals herzlichen Dank für die Tipps.
Blackforrest.
Der Service-Mitarbeiter zeigte mir aber dass das Gestänge für den ALB gebrochen sei.Dazu würde ich aber gleich mal einen neues Thema öffnen.
Dann verschiebe ich die Tankausbauaktion erst einmal auf nach den Urlaub.
Nochmals herzlichen Dank für die Tipps.
Blackforrest.
Mercedes Benz 208 James Cook | 1980 | Benziner | 86 PS
Re: Benzingeruch beim James Cook Bj 1980
Kann ich nicht glauben.BackForrest hat geschrieben: ↑30.06.2021 14:52Sie könnten nichts feststellen und meinten, dass der Geruch über das Belüfungsventil bzw den Belüftungsschlauchg nach außen gehen würde. Das verursacht den Geruch.
Benzin verdampft sehr schnell, ein Leck ist dementsprechend schwer zu erkennen.
MB NFZ sind mit einem Benziner bestimmt überfordert, die kennen nur Diesel
Selbst beim Diesel ist ein Leck in der Vorlaufleitung sehr schwer zu erkennen, weil die Leitung Unterdruck hat. Luft wird in den Schlauch gesaugt, kein Diesel nach außen gedrückt.
1985er JC 309D mit 540.000km
-
BackForrest
- Beiträge: 31
- Registriert: 08.09.2020 08:27
- Wohnort: Schwarzwald
Re: Benzingeruch beim James Cook Bj 1980
Guten Morgen AndiP,
also doch ausbauen und die Leitungen erneuern. Puuuuh, die Zeit wird knapp.Ich fasse noch mal zusammen:
1.) Tank relativ leer fahren und ausbauen – dabei nicht rauchen
2.) Einfüllrohr am besten am Tank belassen
3.) Dichtring des Tankgebers erneuern und alles Schläuche.
4. Tank wieder einbauen
Fragen:
a) Gibt es da qualitative Unterschiede bei den Schläuchen? Wo würdest du die bestellen?
b) Den Dichtring bekomme ich wohl über MB, oder?
c) Wieviel Metern Kraftstoffleitung benötige ich und welchen Innendurchmesser?
d) Enthemmen ich den Modell-Code aus den ersten 6 Zahlen der Fahrgestellnummer? Dann müsste es diese Tankanlage sein:
https://nemigaparts.com/de/cat_spares/e ... 71/47/001/
Hab herzlichen Dank für deine Hilfe.
Blackforrest
also doch ausbauen und die Leitungen erneuern. Puuuuh, die Zeit wird knapp.Ich fasse noch mal zusammen:
1.) Tank relativ leer fahren und ausbauen – dabei nicht rauchen
2.) Einfüllrohr am besten am Tank belassen
3.) Dichtring des Tankgebers erneuern und alles Schläuche.
4. Tank wieder einbauen
Fragen:
a) Gibt es da qualitative Unterschiede bei den Schläuchen? Wo würdest du die bestellen?
b) Den Dichtring bekomme ich wohl über MB, oder?
c) Wieviel Metern Kraftstoffleitung benötige ich und welchen Innendurchmesser?
d) Enthemmen ich den Modell-Code aus den ersten 6 Zahlen der Fahrgestellnummer? Dann müsste es diese Tankanlage sein:
https://nemigaparts.com/de/cat_spares/e ... 71/47/001/
Hab herzlichen Dank für deine Hilfe.
Blackforrest
Mercedes Benz 208 James Cook | 1980 | Benziner | 86 PS
Re: Benzingeruch beim James Cook Bj 1980
Dichtung und Schläuche bei mb bestellen. Schlauch brauchst du nicht viel, vielleicht 1 oder 2m . die langen Strecken sind als Kunststoff Rohr gebaut.
Größe steht bei nemingaparts
Größe steht bei nemingaparts
1985er JC 309D mit 540.000km
-
BackForrest
- Beiträge: 31
- Registriert: 08.09.2020 08:27
- Wohnort: Schwarzwald
Re: Benzingeruch beim James Cook Bj 1980
Ich möchte mich nun an die Arbeit machen und die Schläuche und das Belüftungsventil erneuern. Die Teile habe ich soweit auch alle gefunden mit dem Problem, dass das Belüftungsventil nicht mehr bei MB zur Verfügung steht. Gibt es da Alternativen bzw kann man es in Stand setzen? Die Nummer des Belüftungsbentils lautet: A 12 347 003 93 leider habe ich es bis jetzt nirgends mehr gefunden - weder bei eBay noch bei Amazon.AndiP hat geschrieben: ↑14.06.2021 09:47Moin,
zu 1. Ich habe den Tank damals ziemlich leer gefahren. Das macht die (de)montage viel einfacher. Alternativ kannst du auch die Revisionsklappe in der Mitte der Schiebetür aufschrauben. Wahrscheinlich muss du dafür aber den Fußboden zerstören (bei meinem 85er ist das leider so). Daher habe ich die Möglichkeit gar nicht erst erwähnt.
zu 2. Dichtring des Tankgebers sollte noch verfügbar sein. Andere Dichtungen gibts nicht, Schlauch und Rohr ist Meterware.
zu 3. Ich würde ALLE Gummiteile erneuern. Und auch das Belüftungsventil. Siehe =https://nemigaparts.com/de/cat_spares/ ... 7/001/hier. Einfüllrohr habe ich am am Tank drangelassen und den Stutzen an der Fahrzeugwand demontiert.
Und nicht rauchen beim Schrauben am Benzintank![]()
zu 4. Ich habe den Tank damals auf der Einfahrt ohne Hebebühne ausgebaut...
https://nemigaparts.com/de/cat_spares/e ... 71/47/001/
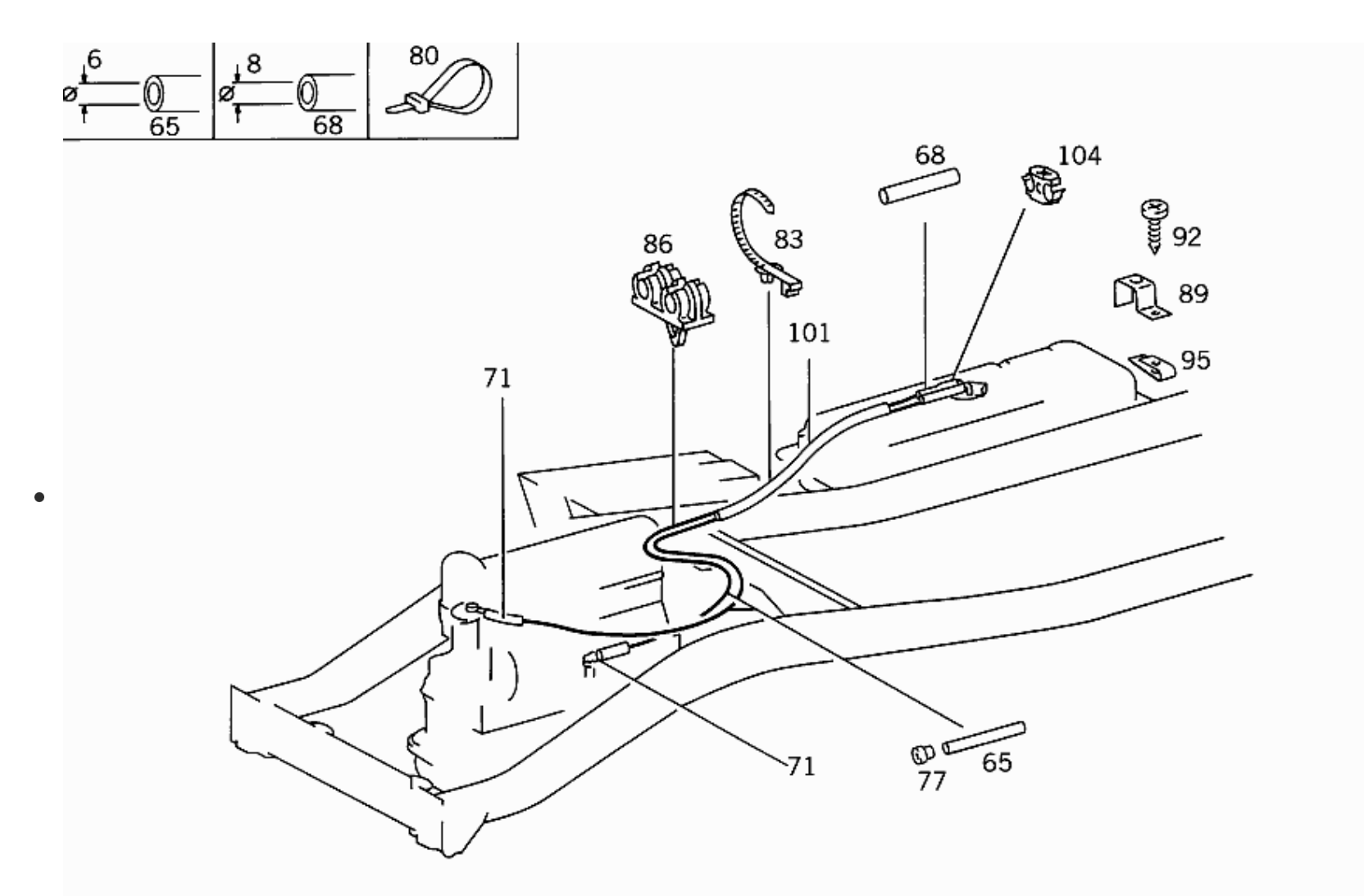
Ich hänge mal die Skizze als PDF an und bedanke mich schon mal für die Hilfe.
Blackforrest
- Dateianhänge
-
- Bildschirmfoto 2021-10-02 um 14.41.24.png (278.7 KiB) 3819 mal betrachtet
-
- Bildschirmfoto 2021-07-01 um 08.07.09.png (1.13 MiB) 3819 mal betrachtet
Mercedes Benz 208 James Cook | 1980 | Benziner | 86 PS
Re: Benzingeruch beim James Cook Bj 1980
Moin,
solche Teile läuft man nicht bei e... oder a...
Geh zu MB,.
Die Teilenummer wurde bestimmt ersetzt.
Der Schlauch ist normaler Spritschlauch
Andi
solche Teile läuft man nicht bei e... oder a...
Geh zu MB,.
Die Teilenummer wurde bestimmt ersetzt.
Der Schlauch ist normaler Spritschlauch
Andi
1985er JC 309D mit 540.000km
-
BackForrest
- Beiträge: 31
- Registriert: 08.09.2020 08:27
- Wohnort: Schwarzwald
Re: Benzingeruch beim James Cook Bj 1980
Guten Morgen Andi,
MB war auch meine erste Anlaufstelle. Aber sie sagten mir, dass es dieses Teil (das Entlüftungsventil) nicht mehr gibt. Ich werde aber noch einmal bei einem anderen MB nachfragen, in der Hoffnung, dass sie nicht richtig nachgeschaut haben.
Viele Grüße
Blackforrest
P.S:: Also ich habe eben explizit noch einmal nachgefragt und diese beiden Teilenummern A 12 347 003 93 (alte Teilenummer) und A 10 747 009 93 (neue Teilenummer) bekommt man über MB Deutschland nicht mehr.
P.S.S.: Potzblitz, ich glaube, ich habe es gefunden. Du hattest recht! Jetzt habe ich noch folgende Teilenummer für das Entlüftungsventil recherchiert und die gibt es tatsächlich noch –> MB A 201 476 01 32
Warum weiß das MB nicht bzuw bekommt diese Nummer nicht angezeigt?
MB war auch meine erste Anlaufstelle. Aber sie sagten mir, dass es dieses Teil (das Entlüftungsventil) nicht mehr gibt. Ich werde aber noch einmal bei einem anderen MB nachfragen, in der Hoffnung, dass sie nicht richtig nachgeschaut haben.
Viele Grüße
Blackforrest
P.S:: Also ich habe eben explizit noch einmal nachgefragt und diese beiden Teilenummern A 12 347 003 93 (alte Teilenummer) und A 10 747 009 93 (neue Teilenummer) bekommt man über MB Deutschland nicht mehr.
P.S.S.: Potzblitz, ich glaube, ich habe es gefunden. Du hattest recht! Jetzt habe ich noch folgende Teilenummer für das Entlüftungsventil recherchiert und die gibt es tatsächlich noch –> MB A 201 476 01 32
Warum weiß das MB nicht bzuw bekommt diese Nummer nicht angezeigt?
- Dateianhänge
-
- Bildschirmfoto 2021-10-04 um 09.43.47.png (115.82 KiB) 3783 mal betrachtet
Zuletzt geändert von BackForrest am 04.10.2021 08:45, insgesamt 1-mal geändert.
Mercedes Benz 208 James Cook | 1980 | Benziner | 86 PS
Re: Benzingeruch beim James Cook Bj 1980
die 123 470 03 93 ist anscheinend noch lieferbar
Solche Ventile muss es aber auch an neueren Fahrzeugen geben, der Tank muss ja immer belüftet werden...
Solche Ventile muss es aber auch an neueren Fahrzeugen geben, der Tank muss ja immer belüftet werden...
1985er JC 309D mit 540.000km
-
BackForrest
- Beiträge: 31
- Registriert: 08.09.2020 08:27
- Wohnort: Schwarzwald
Re: Benzingeruch beim James Cook Bj 1980
Mmmmmh. Interessant! Aber der Preis ist wohl etwas hoch gegriffen ... 81,89 Euro
Na ja. Ich habe jetzt diese o.g. andere Nummer bestellt und schaue mal, ob es das gewünschte Entlüftungsventil ist. Danke dir für deine Hilfe und die Suchmaske bei MB. Ansonsten werde ich mal die dort angezeigte Telefonnummer anrufen. +49 271 3374-0
Na ja. Ich habe jetzt diese o.g. andere Nummer bestellt und schaue mal, ob es das gewünschte Entlüftungsventil ist. Danke dir für deine Hilfe und die Suchmaske bei MB. Ansonsten werde ich mal die dort angezeigte Telefonnummer anrufen. +49 271 3374-0
Mercedes Benz 208 James Cook | 1980 | Benziner | 86 PS
Re: Benzingeruch beim James Cook Bj 1980
viel Erfolg.
wenn's nicht klappt, frag Mal bei den Busfreaks.de. Dort gibt es mehr Leute, die sich mit so speziellen Teilen und Fragen dazu gut auskennen
ps. ich erinnere mich, 201... ist die derzeitige Nummer. Ich hatte das teil vor etwa 2 Jahren bestellt.
wenn's nicht klappt, frag Mal bei den Busfreaks.de. Dort gibt es mehr Leute, die sich mit so speziellen Teilen und Fragen dazu gut auskennen
ps. ich erinnere mich, 201... ist die derzeitige Nummer. Ich hatte das teil vor etwa 2 Jahren bestellt.
1985er JC 309D mit 540.000km